1.產品介紹
我司研發的積水監測站由遠程遙測終端RTU、電子水尺、語音播報模塊、光報警模塊LED屏顯示模塊等組成。電子水尺通過485通信,將測量到的水位信息傳輸到遠程遙測終端,遙測終端將得到的水位值通過4G通訊模塊,再傳送給后臺服務器,然后傳送到微信小程序/云平臺網頁終端。同時可以將檢測到的水位值,實時顯示在LED屏上,水位超限會觸發號筒揚聲器和聲光報警器雙重報警。從而全面掌握城市內澇狀況、實現排水統籌調度,建立起城市內澇監測預警系統。
2.功能特點
可因地制宜選擇4G(全網通)、網口等上傳方式。
可外接顯示屏,實時顯示當前水位,超限變色顯示。
可外接語音播報及光報警器,實時水位預警。
自帶兩路繼電器輸出,可接外設擴展,支持平臺控制、自動等控制模式。
可通過手機配置軟件“藍牙app”進行配置參數。
可外接兩路室外LED雙色顯示屏,實現隧道兩端同時顯示實時水位值。
設備可設閾值,超限醒目提示,關聯光報警器、號筒揚聲器。
支持我司提供的多款軟件平臺、客戶自己的平臺。
設備支持遠程升級、支持二次開發。
交流220V供電、IP65防水等級,可常年工作于室外,不懼淋雨室外。
兼容多種立桿,安裝簡單靈活。
3.技術參數
供電 | AC220V |
供電方式 | 市電或太陽能供電 |
設備功耗 | ≤25 W |
工作溫度 | -40—80℃ |
設備接口 | 接口類型 | 說明 |
| LED屏顯示接口 | 雙色LED顯示屏(最大點數96*16) |
電壓輸入范圍:0~5V |
|
|
| 兩路模擬量接口(預留) | 采集范圍:4-20mA、0-5V、0-10V默認4-20mA |
| 一路水浸檢測(預留) | 可檢測有無水 |
| 兩路繼電器接口 | 繼電器容量:250VAC/30VDC 3A 一路可設置有源無源,用作報警或自動控制 |
報警設備 | 支持聲光報警 | 支持語音播報 |
LED屏 | 尺寸102cm*22cm雙色屏 |
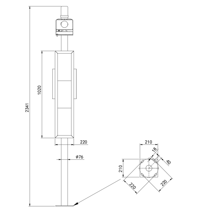
設備支架 | 2米立桿 |
電控箱 | 用于放置遠程遙測終端機、電源 |
4.產品選型
RS- |
| 公司代號 |
| JSJC- |
| 積水檢測站 |
|
| 100- |
| 標準版 |
|
|
| 4G | 4G上傳 |
5.產品尺寸
